DT12-B65M080ACVX13
Can't find what you're looking for? Go to the Product Selector
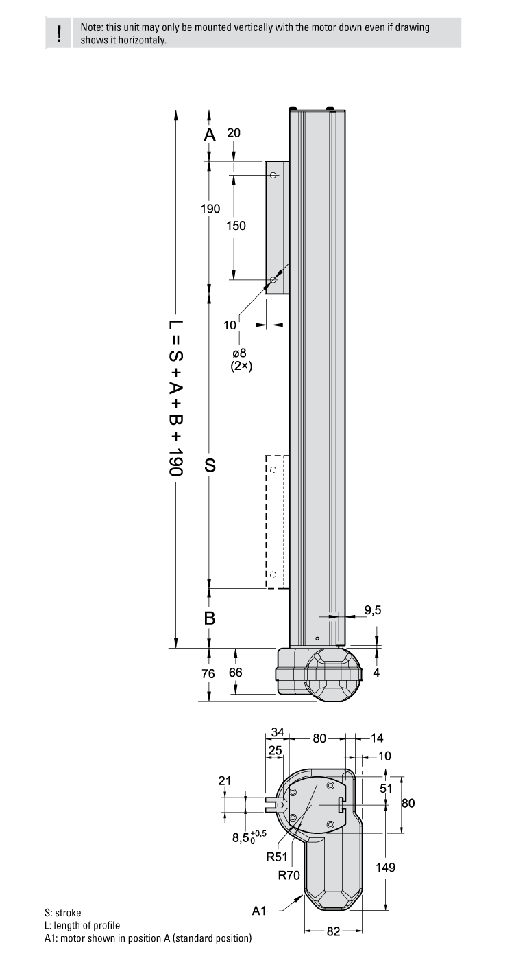
直線運動單元, 無桿執行器, Load Master, LM80 - Loadmaster, 滾珠絲桿 Drive, 12 直流電壓伏特, "A" Motor Position, with enclosure, IP44, Vertical mounting with motor down, No option, 2000 N Capacity
- 剛性自支撐擠壓鋁型材
- 經久耐用且無腐蝕
- 重量輕和安靜運行
- 方便快速的T型槽安裝
- 免維護
- LM80無桿執行器
